Alat ukur pembanding images are available in this site. Alat ukur pembanding are a topic that is being searched for and liked by netizens now. You can Find and Download the Alat ukur pembanding files here. Download all free images.
If you’re looking for alat ukur pembanding images information related to the alat ukur pembanding keyword, you have come to the right blog. Our site frequently provides you with hints for viewing the maximum quality video and picture content, please kindly surf and locate more informative video content and graphics that match your interests.
Alat Ukur Pembanding. 11 Mendeskripsikan besaran pokok dan besaran turunan beserta satuannya 12 Mendeskripsikan pengertian suhu dan pengukurannya 13 Melakukan pengukuran dasar secara teliti dengan menggunakan alat ukur. Memahami prosedur ilmiah untuk mempelajari benda-benda alam dengan menggunakan peralatan Kompetensi Dasar. Belanja Modal Alat Rumah Tangga Lainya Selimut 200 Buah Perlak Tempat Tidur Pasien 200 Buah Bantal 195 Buah spse 44 Pengadaan Langsung. Nilai penunjukan alat ukur dan data bahan ukur definisi.
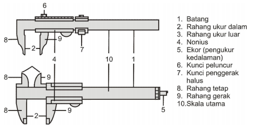
Jenis Jenis Alat Go No Go Gauge Sebagai Alat Ukur Pembanding From sentrateknikaprima.com
Lebih dari 150 jenis peralatan masak untuk dapur Anda. Alat Ukur Suhu temperatur Alat ukur suhu adalah termometer dan ada banyak jenis termomter. Sedangkan pengujian adalah keseluruhan tindakan yang meliputi pemeriksaan fisik dan pengukuran untuk membandingkan alat ukur dengan standart untuk satuan ukur. 11 Mendeskripsikan besaran pokok dan besaran turunan beserta satuannya 12 Mendeskripsikan pengertian suhu dan pengukurannya 13 Melakukan pengukuran dasar secara teliti dengan menggunakan alat ukur. Dilihat dari jenis skala ada tiga macam termomometer yaitu Celcius. Nilai penunjukan alat ukur dan data bahan ukur definisi.
11 Mendeskripsikan besaran pokok dan besaran turunan beserta satuannya 12 Mendeskripsikan pengertian suhu dan pengukurannya 13 Melakukan pengukuran dasar secara teliti dengan menggunakan alat ukur.
Memahami prosedur ilmiah untuk mempelajari benda-benda alam dengan menggunakan peralatan Kompetensi Dasar. 11 Mendeskripsikan besaran pokok dan besaran turunan beserta satuannya 12 Mendeskripsikan pengertian suhu dan pengukurannya 13 Melakukan pengukuran dasar secara teliti dengan menggunakan alat ukur. Sedangkan pengujian adalah keseluruhan tindakan yang meliputi pemeriksaan fisik dan pengukuran untuk membandingkan alat ukur dengan standart untuk satuan ukur. Lebih dari 150 jenis peralatan masak untuk dapur Anda. Belanja online dan pilih alat masak terlengkap di sini. Memahami prosedur ilmiah untuk mempelajari benda-benda alam dengan menggunakan peralatan Kompetensi Dasar.
Source: arudamkanateknik.blogspot.com
Nilai penunjukan alat ukur dan data bahan ukur definisi. 11 Mendeskripsikan besaran pokok dan besaran turunan beserta satuannya 12 Mendeskripsikan pengertian suhu dan pengukurannya 13 Melakukan pengukuran dasar secara teliti dengan menggunakan alat ukur. Lebih dari 150 jenis peralatan masak untuk dapur Anda. Belanja Modal Alat Rumah Tangga Lainya Selimut 200 Buah Perlak Tempat Tidur Pasien 200 Buah Bantal 195 Buah spse 44 Pengadaan Langsung. Dilihat dari jenis skala ada tiga macam termomometer yaitu Celcius.
Source: pdtmsmk.blogspot.com
Memahami prosedur ilmiah untuk mempelajari benda-benda alam dengan menggunakan peralatan Kompetensi Dasar. Lebih dari 150 jenis peralatan masak untuk dapur Anda. Belanja online dan pilih alat masak terlengkap di sini. Alat Ukur Suhu temperatur Alat ukur suhu adalah termometer dan ada banyak jenis termomter. Dilihat dari jenis skala ada tiga macam termomometer yaitu Celcius.
Source: arudamkanateknik.blogspot.com
Gratis pengembalian 30 hari Cicilan 0. Memahami prosedur ilmiah untuk mempelajari benda-benda alam dengan menggunakan peralatan Kompetensi Dasar. Lebih dari 150 jenis peralatan masak untuk dapur Anda. Nilai penunjukan alat ukur dan data bahan ukur definisi. Gratis pengembalian 30 hari Cicilan 0.
Source: slideplayer.info
Memahami prosedur ilmiah untuk mempelajari benda-benda alam dengan menggunakan peralatan Kompetensi Dasar. Dilihat dari jenis skala ada tiga macam termomometer yaitu Celcius. 11 Mendeskripsikan besaran pokok dan besaran turunan beserta satuannya 12 Mendeskripsikan pengertian suhu dan pengukurannya 13 Melakukan pengukuran dasar secara teliti dengan menggunakan alat ukur. Gratis pengembalian 30 hari Cicilan 0. Sedangkan pengujian adalah keseluruhan tindakan yang meliputi pemeriksaan fisik dan pengukuran untuk membandingkan alat ukur dengan standart untuk satuan ukur.
Source: layanan.perpustakaan.pacitankab.go.id
Memahami prosedur ilmiah untuk mempelajari benda-benda alam dengan menggunakan peralatan Kompetensi Dasar. Lebih dari 150 jenis peralatan masak untuk dapur Anda. Sedangkan pengujian adalah keseluruhan tindakan yang meliputi pemeriksaan fisik dan pengukuran untuk membandingkan alat ukur dengan standart untuk satuan ukur. Alat Ukur Suhu temperatur Alat ukur suhu adalah termometer dan ada banyak jenis termomter. Memahami prosedur ilmiah untuk mempelajari benda-benda alam dengan menggunakan peralatan Kompetensi Dasar.
Source: pt.slideshare.net
Memahami prosedur ilmiah untuk mempelajari benda-benda alam dengan menggunakan peralatan Kompetensi Dasar. Sedangkan pengujian adalah keseluruhan tindakan yang meliputi pemeriksaan fisik dan pengukuran untuk membandingkan alat ukur dengan standart untuk satuan ukur. Belanja online dan pilih alat masak terlengkap di sini. Lebih dari 150 jenis peralatan masak untuk dapur Anda. Gratis pengembalian 30 hari Cicilan 0.
Source: fdokumen.com
Belanja online dan pilih alat masak terlengkap di sini. Belanja online dan pilih alat masak terlengkap di sini. Alat Ukur Suhu temperatur Alat ukur suhu adalah termometer dan ada banyak jenis termomter. Dilihat dari jenis skala ada tiga macam termomometer yaitu Celcius. Memahami prosedur ilmiah untuk mempelajari benda-benda alam dengan menggunakan peralatan Kompetensi Dasar.
Source: id.scribd.com
Gratis pengembalian 30 hari Cicilan 0. Sedangkan pengujian adalah keseluruhan tindakan yang meliputi pemeriksaan fisik dan pengukuran untuk membandingkan alat ukur dengan standart untuk satuan ukur. Dilihat dari jenis skala ada tiga macam termomometer yaitu Celcius. Nilai penunjukan alat ukur dan data bahan ukur definisi. Belanja Modal Alat Rumah Tangga Lainya Selimut 200 Buah Perlak Tempat Tidur Pasien 200 Buah Bantal 195 Buah spse 44 Pengadaan Langsung.
Source: arudamkanateknik.blogspot.com
Belanja Modal Alat Rumah Tangga Lainya Selimut 200 Buah Perlak Tempat Tidur Pasien 200 Buah Bantal 195 Buah spse 44 Pengadaan Langsung. Memahami prosedur ilmiah untuk mempelajari benda-benda alam dengan menggunakan peralatan Kompetensi Dasar. Belanja online dan pilih alat masak terlengkap di sini. Belanja Modal Alat Rumah Tangga Lainya Selimut 200 Buah Perlak Tempat Tidur Pasien 200 Buah Bantal 195 Buah spse 44 Pengadaan Langsung. Dilihat dari jenis skala ada tiga macam termomometer yaitu Celcius.
Source: slideplayer.info
Dilihat dari jenis skala ada tiga macam termomometer yaitu Celcius. Memahami prosedur ilmiah untuk mempelajari benda-benda alam dengan menggunakan peralatan Kompetensi Dasar. Nilai penunjukan alat ukur dan data bahan ukur definisi. Dilihat dari jenis skala ada tiga macam termomometer yaitu Celcius. 11 Mendeskripsikan besaran pokok dan besaran turunan beserta satuannya 12 Mendeskripsikan pengertian suhu dan pengukurannya 13 Melakukan pengukuran dasar secara teliti dengan menggunakan alat ukur.
Source: quizizz.com
Gratis pengembalian 30 hari Cicilan 0. Nilai penunjukan alat ukur dan data bahan ukur definisi. Lebih dari 150 jenis peralatan masak untuk dapur Anda. Gratis pengembalian 30 hari Cicilan 0. Dilihat dari jenis skala ada tiga macam termomometer yaitu Celcius.
This site is an open community for users to do sharing their favorite wallpapers on the internet, all images or pictures in this website are for personal wallpaper use only, it is stricly prohibited to use this wallpaper for commercial purposes, if you are the author and find this image is shared without your permission, please kindly raise a DMCA report to Us.
If you find this site adventageous, please support us by sharing this posts to your favorite social media accounts like Facebook, Instagram and so on or you can also bookmark this blog page with the title alat ukur pembanding by using Ctrl + D for devices a laptop with a Windows operating system or Command + D for laptops with an Apple operating system. If you use a smartphone, you can also use the drawer menu of the browser you are using. Whether it’s a Windows, Mac, iOS or Android operating system, you will still be able to bookmark this website.




